Патент Intel подтверждает работу над многочиповыми модулями для графических карт

Недавний патент, опубликованный Intel (через Underfox), может стать краеугольным камнем для будущих разработок графических ускорителей, и в нем используется подход Multi-Chip Module (MCM). Intel описывает серию графических процессоров, работающих в тандеме для создания одного кадра.

Дизайн Intel указывает на иерархию рабочих нагрузок: основной графический процессор координирует всю рабочую нагрузку. И компания рассматривает подход MCM в целом как необходимый шаг, чтобы увести разработчиков микросхем от проблем технологичности, масштабируемости и подачи питания, которые возникают из-за увеличения размеров кристаллов в вечном поиске производительности.

Согласно патенту Intel, несколько инструкций отрисовки графики передаются «множеству» графических процессоров. Затем первый графический процессор выполняет начальный проход отрисовки всей сцены. В этот момент графический процессор просто создает данные о видимости (и препятствиях); это решение, что визуализировать, что является высокоскоростной операцией для современных графических процессоров.

Затем некоторое количество тайлов, сгенерированных во время этого первого прохода, передаются другим доступным графическим процессорам. Согласно этому начальному проходу видимости, они будут нести главную роль за точную визуализацию сцены, соответствующей их тайлам, которая указывает, какой примитив находится в каждом тайле, или показывает, где нечего визуализировать.

Компьютерная система, в которую интегрирован один из графических процессоров, описанных в патенте Intel. Обратите внимание на множественное число как процессоров, так и ядер.(Изображение предоставлено Intel)
Компьютерная система, в которую интегрирован один из графических процессоров, описанных в патенте Intel. Обратите внимание на множественное число как процессоров, так и ядер.(Изображение предоставлено Intel)
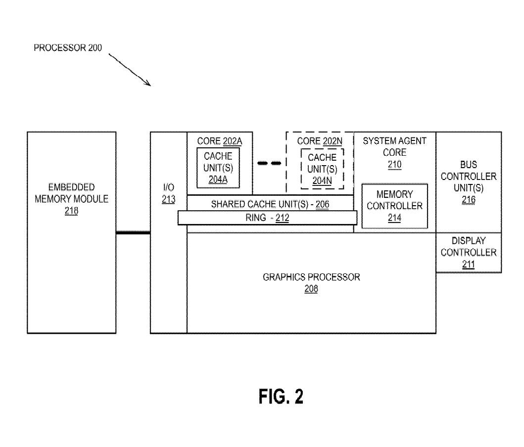
Подробная схема одного из интеловских «воплощений» (Изображение предоставлено Intel)
Подробная схема одного из интеловских «воплощений» (Изображение предоставлено Intel)

Таким образом, Intel рассматривает возможность интеграции рендеринга в шахматном порядке на основе тайлов (функция, используемая в современных графических процессорах) наряду с вычислением положения распределенных вершин (вне начального прохода кадра).

Наконец, когда все графические процессоры визуализируют свою часть головоломки, которая представляет собой один кадр (включая затенение, освещение и трассировку лучей), их вклады объединяются, чтобы представить окончательное изображение на экране. В идеале этот процесс должен происходить 60, 120 или даже 500 раз в секунду. Таким образом, перед нами раскрывается надежда Intel на масштабирование производительности с использованием нескольких кристаллов.

Затем Intel использует отчеты о производительности графических карт AMD и Nvidia, работающих в режимах SLI или Crossfire, чтобы проиллюстрировать потенциальное увеличение производительности в классических конфигурациях с несколькими графическими процессорами. Но, конечно, он всегда будет ниже, чем аутентичный дизайн MCM.

Оценки производительности в конфигурациях с несколькими GPU — Intel не предоставила каких-либо внутренних результатов по этой патентной заявке, что, интересно.(Изображение предоставлено Intel)
Оценки производительности в конфигурациях с несколькими GPU — Intel не предоставила каких-либо внутренних результатов по этой патентной заявке, что, интересно.(Изображение предоставлено Intel)
Рендеринг на основе плитки, при котором один кадр делится на несколько плиток. В патенте Intel эти тайлы будут подлежать первому проходу, указывающему, какие примитивы видны и где. Это дает каждой плитке структуру, которую несколько графических процессоров затем должны будут отображать поверх, пока мы не получим кадр Destiny 2.(Изображение предоставлено Intel)
Рендеринг на основе плитки, при котором один кадр делится на несколько плиток. В патенте Intel эти тайлы будут подлежать первому проходу, указывающему, какие примитивы видны и где. Это дает каждой плитке структуру, которую несколько графических процессоров затем должны будут отображать поверх, пока мы не получим кадр Destiny 2.(Изображение предоставлено Intel)

Однако патент Intel нечеток в деталях на уровне архитектуры и вызывает много вопросов, что, опять же, обычно в этой области. Например, он допускает проекты, которые даже включают несколько графических процессоров, работающих в тандеме, или только секции графических процессоров. Этот метод применим к «однопроцессорной настольной системе, многопроцессорной системе рабочей станции, серверной системе», а также к конструкции системы на кристалле (SoC) для мобильных устройств. Эти графические процессоры или варианты их реализации, как их называет Intel, даже описываются как принимающие инструкции от команд RISC, CISC или VLIW. Но Intel, кажется, берет страницу прямо из учебника AMD, объясняя, что их дизайн MCM «концентратор».

По мере того, как скорость миниатюризации полупроводников замедляется (и продолжает замедляться), компаниям приходится искать способы масштабирования производительности при сохранении хорошей доходности.

В то же время им приходится внедрять инновации в архитектуру, процессы производства полупроводников становятся все более и более сложными и экзотическими, с большим количеством необходимых производственных этапов, большим количеством масок и, наконец, интеграцией приложений экстремальной ультрафиолетовой литографии (EUV).

Мы некоторое время изучали часть уравнения убывающей отдачи: становится все труднее и труднее увеличивать плотность транзисторов, а дальнейшее увеличение площадей кристалла повлечет за собой снижение производительности пластин. Единственное решение состоит в том, чтобы соединить вместе несколько матриц меньшего размера: проще иметь две исправные матрицы со стороной 400 мм, чем одну полностью работающую матрицу со стороной 800 мм.

AMD, например, добилась большого успеха со своими процессорами Ryzen на базе MCM с момента их первого поколения. Компания по-прежнему поставляет графические процессоры на основе MCM, и их Navi 31 и Navi 32 следующего поколения могут использовать эту технологию. И мы знаем, что Nvidia тоже активно изучает дизайн MCM для своих будущих графических продуктов, следуя новому подходу к проектированию Composable On Package GPU (COPA).

Гонка продолжается уже давно, еще до того, как AMD выпустила поколение Zen. Первая компания, которая развернет дизайн графического процессора MCM, должна иметь преимущество перед своими конкурентами, поскольку более высокая доходность будет способствовать увеличению прибыли или снижению рыночных цен. А поскольку в обозримом будущем все три AMD, Intel и Nvidia заключат контракты с одними и теми же производственными узлами TSMC, каждое незначительное преимущество может иметь потенциально большое влияние на рынке.

69
5
Комментарии:  5
Ваш комментарий

С такими делами давно пора лететь Марс осваивать-играть один хрен нечего.Одна синтетика.

Для игроков это ничего не меняет, как майнили крипту так и будут майнить. TSMC этот дефицит сами и создают.

Когда там уже оптические процессоры? (

Ничего не понял, но очень интересно.

Проста, скажите какая будет цена этих карта, и когда будет закат для криптаХ-ни, остальное не важно уже