В сети обнаружили патент девкита PlayStation 5

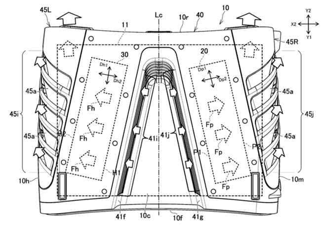
4 июня в сети появился патент девкита PS5, фото которого ранее было слито в интернет. Само собой, заявку Sony подала еще в ноябре 2019 и судя по имеющимся изображениям, фотографии девкита были правдивыми. Так, форма корпуса оказалась оправданной благодаря установленной системе охлаждения. V-образный дизайн позволяет воздуху свободно циркулировать от центра консоли к краям.

Также из патента можно узнать, что Sony установила в девкит сразу шесть вентиляторов, продувающих консоль насквозь. А над основным чипом дополнительно был размещен радиатор.

Само собой, данный девкит далек от финального дизайна ритейловой PS5. Его Sony так и не показала, тем не менее, скоро им придется это сделать, так как производство консоли уже началось, а это значит, что рабочие завода могут в любой момент слить фото дизайна в сеть и Sony придется их опередить, анонсировав внешний вид PS5 официально.

11
8
Комментарии:  8
Ваш комментарий

Лично мне бы хотелось от Сони простой прямоугольный корпус без выкрутасов и попугайских подсветок, что-то типа такого:

У меня, кстати, ПК в таком корпусе, видеокарта параллельно материнке, смотрится аккуратно, тонкий, но охлаждение хорошее, воздух проходит насквозь двумя непересекающимися потоками для проца и видюхи.

Forums Nick Я тоже за строгость и стильность.

Forums Nick serega1121 Я бы хотел форм фактор как был у старушки пс2, как по мне идеальный.

Не забывайте, что девкит PS4 вообще выглядел не так, как финальная консоль: всё ещё тысячу раз может измениться.

elfloo Это вроде пс4 про. Меня больше забавляет дев кит пс3, буд-то видеомагнитофон.

Какое теперь здание пойдёт в основу дизайна ps5?

а мне наоборот хотелось бы чтоб она выглядела как девкит,крутая же в черном или серебристом цвете

Помню один инсайдер говорил что ps5 толще прошки и имеет округлые края, и девкит под это описание подходит)